您好,欢迎来到日本购物网! 请登录 免费注册 [帮助中心]
8:30-12:00/13:00-18:30
400-668-2606
NC50 純正 フロートバルブ COMP ロードパル . ロードパルE ロードパルS ロードパルL キャブレター humming ハミング G  / 883
NC50 純正 フロートバルブ COMP ロードパル . ロードパルE ロードパルS ロードパルL キャブレター humming ハミング G  / 883 [浏览原始页面]
当前价:1490 日元(合71.67人民币)

加价单位:0 日元/0.00 人民币

一口价:1500 日元 合 72.15 人民币
当前最高出价者: 出价次数:0
距结束:
5945.9247435
手动刷新
升级包月会员,免预付款出价! 《会员制说明》
卖方资料

卖家账号:バイクパーツ四国中央

卖家评价:好评:21358 差评:19

店铺卖家:不是

发货地址:愛媛県

商品信息

拍卖号:s1207202716

结束时间:11/24/2025 08:54:38

日本邮费:买家承担

可否退货:不可

开始时间:11/17/2025 09:54:38

商品成色:新品

自动延长:可

个 数:1

提前结束:可

最高出价:

拍卖注意事项

1、【自动延长】:如果在结束前5分钟内有人出价,为了让其他竞拍者有时间思考,结束时间可延长5分钟。

2、【提前结束】:卖家觉得达到了心理价位,即使未到结束时间,也可以提前结束。

3、参考翻译由网络自动提供,仅供参考,不保证翻译内容的正确性。如有不明,请咨询客服。

4、本站为日拍、代拍平台,商品的品质和卖家的信誉需要您自己判断。请谨慎出价,竞价成功后订单将不能取消。

5、违反中国法律、无法邮寄的商品(注:象牙是违禁品,受《濒临绝种野生动植物国际贸易公约》保护),本站不予代购。

6、邮政国际包裹禁运的危险品,邮政渠道不能发送到日本境外(详情请点击), 如需发送到日本境外请自行联系渠道。

        NC50    ロードパル     純正    フロートバルブ COMP   新品

商品内容
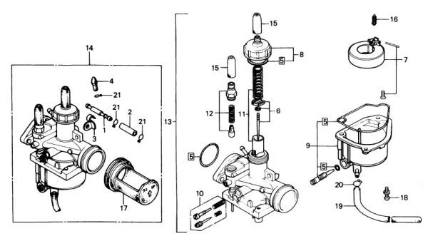
NC50  .  E-7-1 .  キャブ  .     16       (1600977~)                                  .883
NC50  .  E-7-2 .  キャブ  .     12       (NC50Z1,NC50B1)                               .883
NC50  .  E-7-3 .  キャブ  .     11       (NC50Z2,NC50B2)                               .883


適合一例
NC50L  DX     NC50-1600977 ~ 1999999  、キャブレター号機  PA08A B 
NC50   STD    NC50-5000001 ~ 5201160   、キャブレター号機   PA08A B . PA08C A
NC50   STD    NC50-1600977 ~ 1999999   、キャブレター号機   PA08A B
NC50L  DX     NC50-5000001 ~ 5201390   、キャブレター号機   PA08C A
NC50Zl STD    NC50-6000052 ~ 6182895   、キャブレター号機   PA10A B . PA08C A
NC50Z2 DX     NC50-6000082 ~ 6182945   、キャブレター号機   PA11A A . PA11A C
NC50Z2 C       NC50-6084543 ~             、キャブレター号機  PA11A A 
NC50Z2 LTD    NC50-6300013 ~             、キャブレター号機   PA11A B
NC50e1 STD    NC50-6307045 ~             、キャブレター号機  PA10A E 
NC50e2 DX      NC50-6306445 ~             、キャブレター号機   PA11A E

ハミングG NC50a、a-1     NC50-7000038~ 、 NC50-7130102~  : キャブレター号機   PA14A  A
ハミング   NC50Da、Da-1  NC50-7000048~ 、 NC50-7130107~  : キャブレター号機   PA14A  C




適合外 
NC50    NC50-1000030 ~ 1600976    、  キャブレター号機   PA08A A
NC50L   NC50-1400553 ~ 1600976   
、  キャブレター号機  
PA08A A  










通常在庫の商品ですが店頭でも販売しておりますのでお急ぎの場合は在庫の確認をお願いします。

送料  60サイズ  (梱包手数料含む)
   地域別送料はこちらからhttp://unosyoukai.com/tyumon.html

レターパックプラス発送         
送料600円
(
時間指定不可/問い合わせ番号あり/手渡し/4kgまで
(代引き不可)


ゆうパケットBOX発送            送料300円
(時間
/日時指定不可/問い合わせ番号あり/ポスト投函/厚さ3cm/1kgまで)
(代引き不可/ゆうパケット用の箱で梱包)


ゆうパケット発送                 送料250円
(時間
/日時指定不可/問い合わせ番号あり/ポスト投函/厚さ3cm/1kgまで)
(代引き不可)














純正部品一例  (図の見出し番号でご確認ください/各1個/同梱発送時の価格です/取り寄せ)追加分は送料に加算










取り扱い燃料ホース(ホンダ純正補修用ホース)

内径3.0mm 長さ1m     400円  950013000140m
内径3.5mm 長さ1m     400円  950013500160m
内径3.5mm 長さ3m   1,100円  950013500360m
内径4.5mm 長さ1m     520円  950014500160m
内径4.5mm 長さ3m   1,450円  950014500360m
内径4.5mm 長さ8m   3,600円 (取り寄せ) 950014500860m
内径5.5mm 長さ1m     700円  950015500160m
内径5.5mm 長さ3m   2,000円  950015500360m
内径5.5mm 長さ8m   4,900円 (取り寄せ) 950015500860m
内径7.5mm 長さ1m     870円  950017500160m
内径7.5mm 長さ3m   2,450円  950017500360m
内径7.5mm 長さ8m   6,050円  (取り寄せ)950017500860m
内径8.0mm 長さ1m     950円  950018000160m


クリップ、チューブ B12       8.0       40円(内径12㎜)           9500202120
クリップ、チューブ B10       7.5       40円(内径10㎜)         9500202100
クリップ、チューブ C9        5.5        30円(内径9㎜)          9500250000
クリップ、チューブ B8        4.5        40円(内径8㎜)          9500202080
クリップ、チューブ B7        3.5        40円(内径7㎜)          9500202079
クリップ、チューブ B6.5      3.0        40円(内径約6㎜)          9500202650






” SUPER ZOIL GREASE 100g / スーパーゾイルスプレー 280ml ”もご用意しております。
(商品購入時に限り1,900円/ヤマト運輸、レターパックプラス、ユウパック発送)






出品商品以外につきましてはメールにてお問い合わせください。
uno_syoukai@ybb.ne.jp

御不明な点があればメールでお問い合わせ下さい。
自己紹介もあわせてご確認ください。
発送には2.3日お時間を頂く場合もございますのでお急ぎの場合は入札前にメールでお問い合わせください。
評価にて発送完了のメールに変えさせて頂きますのであらかじめご了承お願い致します。


 
 
送料(発送手数料含む)
60サイズ
(離島はお問い合わせください)

ヤマト運輸  
(時間指定/午前中,14-16時,16-18時,18-20時,20-21時)

[北海道] 1750円 (北海道)
[ 東北 ]  1100円 (青森、岩手、秋田、山形、宮城、福島)
[ 関東 ]   900円 (茨城、栃木、群馬、埼玉、千葉、東京、神奈川、山梨)
[ 信越 ]   900円 (新潟、長野)
[ 北陸 ]   900円 (富山、石川、福井)
[ 中部 ]   800円 (静岡、愛知、岐阜、三重)
[ 関西 ]   700円 (滋賀、京都、大阪、兵庫、奈良、和歌山)
[ 中国 ]   700円 (鳥取、岡山、島根、広島、山口)
[ 四国 ]   700円 (香川、徳島、愛媛、高知)
[ 九州 ]   800円 (福岡、佐賀、長崎、熊本、大分、宮崎、鹿児島)
[ 沖縄 ] 1300円 (沖縄) 



ゆうパック
(時間指定/午前中,12-14時,14-16時,16-18時,18-20時,20-21時)

[北海道] 1300円 (北海道)
[ 東北 ]    900円 (青森、岩手、秋田、山形、宮城、福島)
[ 関東 ]    800円 (茨城、栃木、群馬、埼玉、千葉、東京、神奈川、山梨)
[ 信越 ]    800円 (新潟、長野)
[ 北陸 ]    800円 (富山、石川、福井)
[ 中部 ]    650円 (静岡、愛知、岐阜、三重)
[ 関西 ]    600円 (滋賀、京都、大阪、兵庫、奈良、和歌山)
[ 中国 ]    600円 (鳥取、岡山、島根、広島、山口)
[ 四国 ]    600円 (香川、徳島、愛媛、高知)
[ 九州 ]    650円 (福岡、佐賀、長崎、熊本、大分、宮崎、鹿児島)
[ 沖縄 ]  1000円 (沖縄)
 











E-7-1. 16 . フロートバルブ                       .   145          16155883005  .124

000123000013530001488000
**000124000013640001500000


E- 7 .  2 . フロートバルブ                        .  185         16011881741  .16011147004  .  .16139
出价者 信用 价格 时间
推荐
地址: 205-0023 東京都羽村市神明台
国内客服电话:400-668-2606
E-mail:gouwujp@gmail.com
//