您好,欢迎来到日本购物网! 请登录 免费注册 [帮助中心]
8:30-12:00/13:00-18:30
400-668-2606
JF06 純正 キャリパー OHセット . リード100 LEAD F ブレーキ ピストン シール AF48 リード50 フロント  / mn5/ge2x2
JF06 純正 キャリパー OHセット . リード100 LEAD F ブレーキ ピストン シール AF48 リード50 フロント  / mn5/ge2x2 [浏览原始页面]
当前价:4990 日元(合240.02人民币)

加价单位:0 日元/0.00 人民币

一口价:5000 日元 合 240.50 人民币
当前最高出价者: 出价次数:0
距结束:
288979.2991402
手动刷新
升级包月会员,免预付款出价! 《会员制说明》
卖方资料

卖家账号:jmt********

卖家评价:好评:45775 差评:41

店铺卖家:不是

发货地址:愛媛県

商品信息

拍卖号:l1205078371

结束时间:11/27/2025 08:59:05

日本邮费:买家承担

可否退货:不可

开始时间:11/21/2025 10:59:06

商品成色:新品

自动延长:可

个 数:1

提前结束:可

最高出价:

拍卖注意事项

1、【自动延长】:如果在结束前5分钟内有人出价,为了让其他竞拍者有时间思考,结束时间可延长5分钟。

2、【提前结束】:卖家觉得达到了心理价位,即使未到结束时间,也可以提前结束。

3、参考翻译由网络自动提供,仅供参考,不保证翻译内容的正确性。如有不明,请咨询客服。

4、本站为日拍、代拍平台,商品的品质和卖家的信誉需要您自己判断。请谨慎出价,竞价成功后订单将不能取消。

5、违反中国法律、无法邮寄的商品(注:象牙是违禁品,受《濒临绝种野生动植物国际贸易公约》保护),本站不予代购。

6、邮政国际包裹禁运的危险品,邮政渠道不能发送到日本境外(详情请点击), 如需发送到日本境外请自行联系渠道。

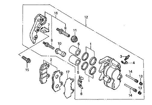
             JF06   リード100   純正  フロントキャリパー  OHセット  

商品内容
JF06   .    F-11    .   1     :     シールセット、ピストン   x2 
JF06   .    F-11    .   5     :     ピストン                    x2 


適合一例
JF06    リード100
AF42    リード50











通常在庫の商品ですが店頭でも販売しておりますのでお急ぎの場合は在庫の確認をお願いします。

送料  60サイズ    (梱包手数料含む)  地域別送料はこちらからhttp://unosyoukai.com/tyumon.html


レターパックプラス発送    
送料600円
(
時間日時指定不可/問い合わせ番号あり/手渡し/4kgまで
(代引き不可)




ゆうパケット発送           送料250円
(時間
日時指定不可/問い合わせ番号あり/ポスト投函/厚さ3cm/1kgまで)
(代引き不可)











ホンダ純正 ブレーキフルード DOT-4 0.5L                        1,000円
   (ヤマト運輸/レターパックプラス/ゆうパック発送)

ブレーキホース取り付け用  アルミクラッシュワッシャー        1枚    60円
  (内径10mm)

Fマスターシリンダーキャップ取り付けボルト                     2本    50円
    (ステンレス製 / フラットスクリュー / プラスネジ / 4x12 )




                

(JF06 .  F-11 .   3 / 4 / 10 / 11画像8枚目のゴム類の4点セットは+ 1200円で追加可能です         




純正部品一例(図の見出し番号でご確認ください/各1個/同梱発送時の価格です/取り寄せ)追加分は送料に加算


JF06

F- 4 .   2 . スイツチASSY.,フロントストツプ             .  1850円   35340MM5600  .35340MA5671 .161
F- 4 .   6 . ブーツCOMP.                                   .    650円       45504410003  .54
F- 4 . 10 . ダイヤフラム                                    .    600円   45520MG7006  .52
F- 4 . 12 . シリンダーセツト,マスター                     .  2900円        45530471831  .261
F- 4 . 13 . レバー,R.ステアリングハンドル              .  2100円        53175GCS006  .175

F- 4 . 14 . スプリング,リターン                            .   280円   53198GBL870  .24
F- 4 . 15 . スプリング,ブレーキレバーリターン        .   250円       53199GCS010  .20-
F- 4 . 18 . オイルボルトワッシャー                      .    250円    90545300000  .20-



F-11 .  3 . ブリーダースクリュー                          .   280円       43352568003  .24-
F-11 .  4 . ブリーダーキャップ                            .    270円             43353461771  .24

F-11 .  8 . ボルトA、ピン                            .    800円     45131HA5672  .64
F-11 .  9 . ボルト、ピン                             .    400円             45131166016  .32
F-11. 13 . ピンプラグ                                       .    280円       45203MG3016  .24-
F-11. 14 . ピン、ハンガー                           .    550円             45215KA3732  .48





出品商品以外につきましてはメールにてお問い合わせください。
uno_syoukai@ybb.ne.jp

御不明な点があればメールでお問い合わせ下さい。
自己紹介もあわせてご確認ください。
発送には2.3日お時間を頂く場合もございますのでお急ぎの場合は入札前にメールでお問い合わせください。
評価にて発送完了のメールに変えさせて頂きますのであらかじめご了承お願い致します。





送料(発送手数料含む)
60サイズ

(離島はお問い合わせください)

ヤマト運輸  
(時間指定/午前中,14-16時,16-18時,18-20時,20-21時)

[北海道] 1750円 (北海道)
[ 東北 ]  1100円 (青森、岩手、秋田、山形、宮城、福島)
[ 関東 ]   900円 (茨城、栃木、群馬、埼玉、千葉、東京、神奈川、山梨)
[ 信越 ]   900円 (新潟、長野)
[ 北陸 ]   900円 (富山、石川、福井)
[ 中部 ]   800円 (静岡、愛知、岐阜、三重)
[ 関西 ]   700円 (滋賀、京都、大阪、兵庫、奈良、和歌山)
[ 中国 ]   700円 (鳥取、岡山、島根、広島、山口)
[ 四国 ]   700円 (香川、徳島、愛媛、高知)
[ 九州 ]   800円 (福岡、佐賀、長崎、熊本、大分、宮崎、鹿児島)
[ 沖縄 ] 1300円 (沖縄) 




ゆうパック
(時間指定/午前中,12-14時,14-16時,16-18時,18-20時,20-21時)

[北海道] 1300円 (北海道)
[ 東北 ]    900円 (青森、岩手、秋田、山形、宮城、福島)
[ 関東 ]    800円 (茨城、栃木、群馬、埼玉、千葉、東京、神奈川、山梨)
[ 信越 ]    800円 (新潟、長野)
[ 北陸 ]    800円 (富山、石川、福井)
[ 中部 ]    650円 (静岡、愛知、岐阜、三重)
[ 関西 ]    600円 (滋賀、京都、大阪、兵庫、奈良、和歌山)
[ 中国 ]    600円 (鳥取、岡山、島根、広島、山口)
[ 四国 ]    600円 (香川、徳島、愛媛、高知)
[ 九州 ]    650円 (福岡、佐賀、長崎、熊本、大分、宮崎、鹿児島)
[ 沖縄 ]  1000円 (沖縄)




http://unosyoukai.com/









F-11 .  5 . ピストン                                           .  18         45107mn5006  .154  x2
F-11 .  1 . シールセット                                     .    65                  06451ge2405  .58  x2

00510001350000.0186000037200040920004501000
*0001490.560.0002050x2000410000045100004961000
**0001540.580.0002120x2.000424000046640005130000

出价者 信用 价格 时间
推荐
地址: 205-0023 東京都羽村市神明台
国内客服电话:400-668-2606
E-mail:gouwujp@gmail.com
//